原理说明:
本计算是根据标准SHT3041-2016, 适用的环境是管子尺寸相同、固定点不超过两个、不存在中间约束的情形下
输入值:
管道外径D(mm):
总膨胀量y(mm):
管道展开长度L(m):
两固定点之间的直线距离U(m):
结果评定:
先判断L L/U>2.5<=2.5,然后再进行下面的计算
D*
y/(L-U)^2=<208.3 则满足柔性设计。
注意事项:
引公式不适用于下列管线:

其中4是指L/U>2.5的管道不适用
如果柔性不够,一般就是增加L值,即增加管线的展开长度,或者减少两固定点之间的直线距离。现实中可行的就是增加弯头。
例题:

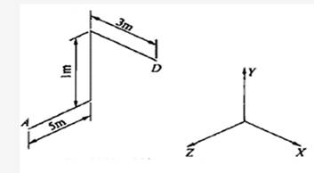
管道为外径273*8,设计温度为250度,热膨胀系数为12.8*10^-6mm/mm度,安装温度为20度,其中AD为固定点。计算柔性是否满足要求。
管道外径D(mm):273 mm
总膨胀量y(mm)=U*热膨胀系数*温度差=5.92*(12.8*10^-6)*(250-20)=17.42
mm
管道展开长度L=5+1+3=9m
两固定点直线距离U=sqrt(5^2+1^2+3^2)=sqrt(35) ≈5.92m
日志: